
ETK Bedienungshinweise:
- Teile anhand der laufenden Nummer aus dem Teilefiche in der Tabelle auswählen
- Artikelnummer anklicken, um zu den Details zu gelangen und die entsprechende Menge in den Warenkorb zu legen
- [Zurück zur letzten Seite] Link benutzen, um zu dieser Teileliste zurückzukehren
| Nr. | OEM-Details | Bezeichnung | Benötigt | Hinweise |
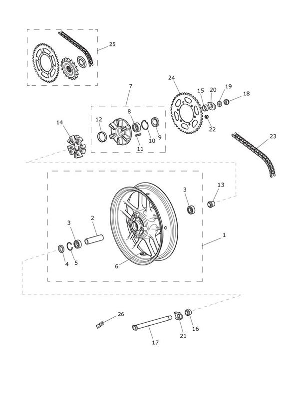
| 1 | ![]() T2015416 | Rear Wheel Assembly, Black | 1 | |
| 2 | ![]() T2003515 | Spacer, Wheel,20 127.2 | 1 | |
| 3 | ![]() T3800703 | Bearing, Ball,20 47 14 | 2 | |
| 4 | ![]() T3600701 | Oil Seal, DC 28 47 7 | 1 | |
| 5 | ![]() T3500402 | Circlip, Int Dia 47 | 1 | |
| 6 | ![]() T2006635 | Valve Assy, Alum,90, Black | 1 | |
| 7 | ![]() T2010606 | Sprocket Carrier Assy, Black | 1 | |
| 8 | ![]() T3800029 | Lager | 1 | |
| 9 | ![]() T3600073 | Öldichtung | 1 | |
| 10 | ![]() T3500203 | Circlip, Int,52 x 2 | 1 | |
| 11 | ![]() T2012144 | Stud, Sprocket Carrier | 6 | |
| 12 | ![]() T2010630 | Bearing, Ring | 1 | |
| 13 | ![]() T2010492 | Spacer, Stepped | 1 | |
| 14 | ![]() T2010650 | Cush Drive Rubber | 1 | |
| 15 | ![]() T2010647 | Spacer Tube,35 x 20 x 12.5 | 1 | |
| 16 | ![]() T2012048 | Top Hat Spacer,22.4 Long | 1 | |
| 17 | ![]() T2015060 | Rear Wheel Spindle | 1 | |
| 18 | ![]() T3350118 | Sich.mutter | 1 | |
| 19 | ![]() T3555035 | Washer,19 x 34 x 3 | 1 | |
| 20 | ![]() T2012016 | Chain Adjuster Block, LH | 1 | |
| 21 | ![]() T2012017 | Chain Adjuster Block, RH | 1 | |
| 22 | ![]() T3350250 | Locknut, Flanged, M10 | 6 | |
| 23 | T2011470 | Chain, Final Drive,525,124L | 1 | |
| 24 | ![]() T2010553 | Sprocket, Rear,50T | 1 | |
| 25 | ![]() T2017260 | Chain & Sprocket Kit,124/50/16 | 1 | |
| 26 | ![]() T2000977 | Balance Weight, Wheel, Zinc | - |
Bedeutung der Hinweise (VIN oder ohne Hinweis=Fahrzeugidentnummer / ENG=Motornummer)
> xxxxx bedeutet BIS Identnummer xxxxx (manchmal auch ohne > davor)
xxxxx > bedeutet AB Identnummer xxxxx (alle ab dieser Idennummer aufwärts)
LH bedeutet Left Hand / Links
RH bedeutet Right Hand / Rechts
obs (obsolete) bedeutet Wird nicht mehr produziert = Nicht mehr bestellbar.
ACHTUNG: Teile aus Ersatzteilkatalogen werden extra für Ihr Fahrzeug bestellt. Es besteht daher kein ersatzloses Rückgaberecht.
Die Wiedereinlagerungsgebühr für zurückgesandte Bestellungen beträgt 25% des Warenwertes.