
ETK Bedienungshinweise:
- Teile anhand der laufenden Nummer aus dem Teilefiche in der Tabelle auswählen
- Artikelnummer anklicken, um zu den Details zu gelangen und die entsprechende Menge in den Warenkorb zu legen
- [Zurück zur letzten Seite] Link benutzen, um zu dieser Teileliste zurückzukehren
| Nr. | OEM-Details | Bezeichnung | Benötigt | Hinweise |
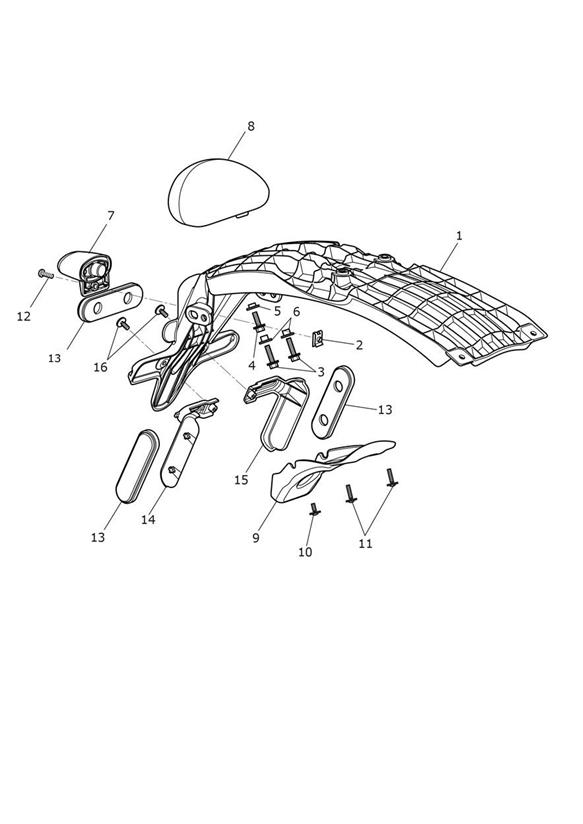
| 1 | ![]() T2702034 | Support Bracket, Rear Mudguard | 1 | |
| 2 | ![]() T3350161 | Nut, Captive, M5 | 1 | |
| 3 | ![]() T3205066 | Bolt, HHF, Lghtd, M6 x 20, Slv | 2 | |
| 4 | ![]() T3205063 | Bolt, HHF, Lghtd, M6 x 16, Slv | 1 | |
| 5 | ![]() T3010062 | Flanged Sleeve, M6 x 7.8 x 2.85 | 1 | |
| 6 | ![]() T3010065 | Flanged Sleeve, M6 x 5.5 LG | 2 | |
| 7 | ![]() T2701271 | Light, Reg Plate | 1 | |
| 8 | ![]() T2701265 | Rear Light Assy | 1 | |
| 9 | ![]() T2702100 | Closure Plate, Harness | 1 | |
| 10 | ![]() T3331436 | Screw, S/Tap, Pan, Torx,4 x 11, PT | 1 | |
| 11 | ![]() T3331414 | Screw, S/Tap, Tx,5 x 16 | 2 | |
| 12 | ![]() T3330696 | Screw, But/Hd, M5 X 16, Slv | 1 | |
| 13 | ![]() T2700443 | Rückstrahler | 3 | Only 2 required for IN |
| 14 | ![]() T2702025 | Bracket, Side Reflector, RH | 1 | AR, CA, ID, KR, US Only |
| 15 | ![]() T2702026 | Bracket, Side Reflector, LH | 1 | AR, CA, ID, KR, US Only |
| 16 | ![]() T3331436 | Screw, S/Tap, Pan, Torx,4 x 11, PT | 2 | AR, CA, ID, KR, US Only |
Bedeutung der Hinweise (VIN oder ohne Hinweis=Fahrzeugidentnummer / ENG=Motornummer)
> xxxxx bedeutet BIS Identnummer xxxxx (manchmal auch ohne > davor)
xxxxx > bedeutet AB Identnummer xxxxx (alle ab dieser Idennummer aufwärts)
LH bedeutet Left Hand / Links
RH bedeutet Right Hand / Rechts
obs (obsolete) bedeutet Wird nicht mehr produziert = Nicht mehr bestellbar.
ACHTUNG: Teile aus Ersatzteilkatalogen werden extra für Ihr Fahrzeug bestellt. Es besteht daher kein ersatzloses Rückgaberecht.
Die Wiedereinlagerungsgebühr für zurückgesandte Bestellungen beträgt 25% des Warenwertes.