Hauptbremszylinder hinten - Thunderbird Sport


  • Details

Produktbeschreibung

ETK Bedienungshinweise:
- Teile anhand der laufenden Nummer aus dem Teilefiche in der Tabelle auswählen
- Artikelnummer anklicken, um zu den Details zu gelangen und die entsprechende Menge in den Warenkorb zu legen
- [Zurück zur letzten Seite] Link benutzen, um zu dieser Teileliste zurückzukehren

- jede OEM-Nr. ist nur 1 Stück! Die Menge muss im Warenkorb angepasst werden!
- Spalte [Benötigt] und [Hinweise] beachten! Hinweise zur VIN Trennung mit der eigenen FIN vergleichen!
- Verkleidungsteile (Neuteile) sind mit Dekor versehen und montagefertig
- bei Unsicherheit ob Teile passen, schreibt uns gern vorher eine Mail mit eurer Fahrgestellnummer

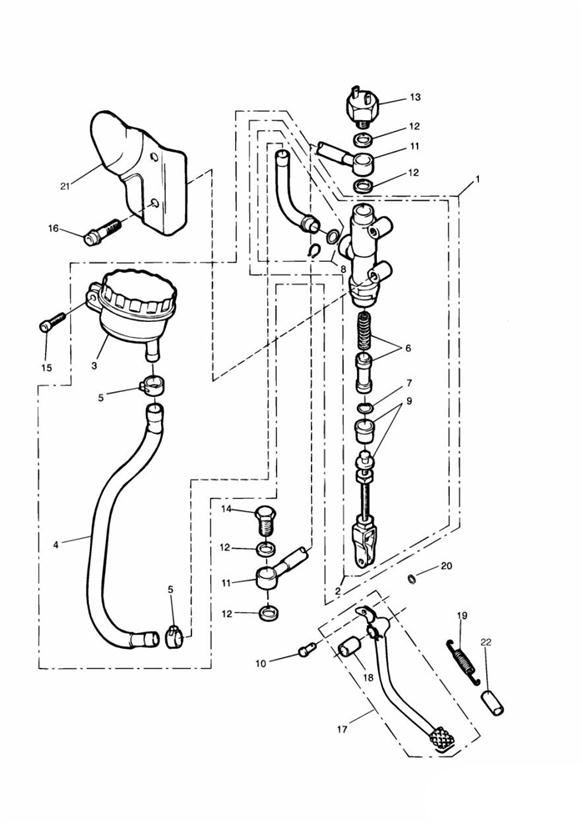
Nr.OEM-DetailsBezeichnungBenötigtHinweise
1obs T2023135FUSSBREMSZYLINDER1 
2obs 2023140-T0301FUSSBREMSZYLINDER1 
3obs 2020430-T0301BREMSFLUESSIGKEITSBEHAELTER HI1 
4obs T2020415SCHLAUCH, BREMSFL.BEHAELTER1 
5In den Warenkorb | add to cart
2020440-T0301
SCHLAUCHKLEMME2 
6In den Warenkorb | add to cart
T2020031
Piston Set1 
7In den Warenkorb | add to cart
T2020472
Circlip, M'cyl, Rear1 
8In den Warenkorb | add to cart
2020476-T0301
VERBINDUNGSSTUECK FUSSBREMSZYL1 
9In den Warenkorb | add to cart
T2020489
Rod Assy1 
10In den Warenkorb | add to cart
T3000301
Pin, Clevis,8 x 13.71 
11In den Warenkorb | add to cart
T2023118
BREMSLEITUNG, HINTEN1 
12In den Warenkorb | add to cart
T3550229
Washer,15.2 x 10 x 1, Plated4 
13In den Warenkorb | add to cart
T2023120
Switch, Rear Brake1 
14In den Warenkorb | add to cart
T3250125
Bolt, Banjo, M10 x 211 
15obs 3210035-T0301DScrew, torx1 
16In den Warenkorb | add to cart
T3205109
Bolt, HHF, Lghtd, M8 x 45, Slv2 
17In den Warenkorb | add to cart
T2020380
BREMSPEDAL1 
18In den Warenkorb | add to cart
T3750006
Buchse1 
19In den Warenkorb | add to cart
T2020017
FEDER, BREMSPEDAL1 
20In den Warenkorb | add to cart
T3000302
Clip,8mm, Clevis Pin1 
21obs T2020426ABDECKUNG, FUSSBREMSZYLINDER1 
22In den Warenkorb | add to cart
T2020018
TUELLE, FEDER BREMSPEDAL1 

Bedeutung der Hinweise (VIN oder ohne Hinweis=Fahrzeugidentnummer / ENG=Motornummer)
> xxxxx bedeutet BIS Identnummer xxxxx (manchmal auch ohne > davor)
xxxxx > bedeutet AB Identnummer xxxxx (alle ab dieser Idennummer aufwärts)

LH bedeutet Left Hand / Links
RH
bedeutet Right Hand / Rechts

obs (obsolete) bedeutet Wird nicht mehr produziert = Nicht mehr bestellbar.

ACHTUNG: Teile aus Ersatzteilkatalogen werden extra für Ihr Fahrzeug bestellt. Es besteht daher kein ersatzloses Rückgaberecht.
Die Wiedereinlagerungsgebühr für zurückgesandte Bestellungen beträgt 25% des Warenwertes.

Willkommen zurück!
Versandland
Schnellkauf

Bitte geben Sie die Artikelnummer aus unserem Katalog ein.