
ETK Bedienungshinweise:
- Teile anhand der laufenden Nummer aus dem Teilefiche in der Tabelle auswählen
- Artikelnummer anklicken, um zu den Details zu gelangen und die entsprechende Menge in den Warenkorb zu legen
- [Zurück zur letzten Seite] Link benutzen, um zu dieser Teileliste zurückzukehren
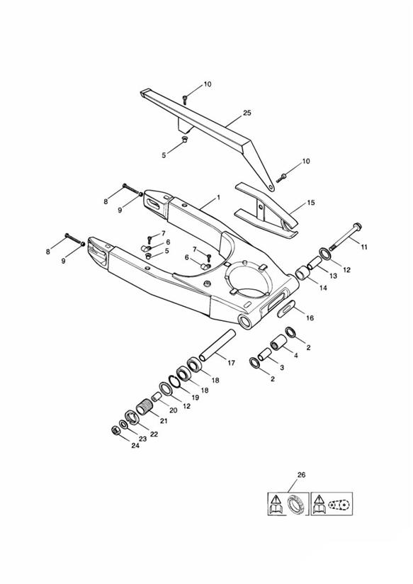
| Nr. | OEM-Details | Bezeichnung | Benötigt | Hinweise |
| 1 | obs T2054005 | Schwinge | 1 | Includes bearings etc - items 2,4,5,12,14,18 & 19 |
| 2 | ![]() T3600066 | Öldichtung | 2 | |
| 3 | ![]() T2050019 | Busche | 1 | |
| 4 | ![]() T3800152 | Lager, nadel- | 1 | |
| 5 | ![]() T3350210 | Einsatz | 2 | |
| 6 | ![]() T3700191 | P Clip, ID 10mm | 2 | |
| 7 | ![]() T3330334 | Screw, Tx, Pan/Hd, M6 x 16, Slv | 2 | |
| 8 | ![]() T3203204 | Screw, H/Hd, M8 x 55, Slv | 2 | |
| 9 | ![]() T3350303 | Nut, M8, Silver | 2 | |
| 10 | ![]() T3330727 | Screw, But/Hd, M6 x 20, Slv | 2 | |
| 11 | ![]() T2054050 | Spindel | 1 | |
| 12 | ![]() T3600044 | Dichtung, öl- | 2 | |
| 13 | ![]() T2054344 | Sleeve, Ground,25 x 17 x 37 | 1 | |
| 14 | ![]() T3800014 | Lager, wälz | 1 | |
| 15 | ![]() T2058300 | RUBBING STRIP, CHAIN | 1 | |
| 16 | obs T2057380 | Gummilager | 1 | |
| 17 | obs T2054056 | Distanzstück | 1 | |
| 18 | ![]() T3800506 | Kugellager | 2 | |
| 19 | ![]() T3500204 | Circlip, Int,35 x 1.5 | 1 | |
| 20 | ![]() T2054063 | Spacer,25 x 17 x 8.5 | 1 | |
| 21 | obs T2054058 | Bund | 1 | |
| 22 | obs T2054059 | Sicherungsring | 1 | |
| 23 | ![]() T3555032 | Washer,17 x 30 x 3 | 1 | |
| 24 | ![]() T3350155 | Sich.mutter | 1 | |
| 25 | ![]() T2058069 | Kettenschutz kit | 1 | |
| 26 | ![]() T3900092 | Schild | 1 |
Bedeutung der Hinweise (VIN oder ohne Hinweis=Fahrzeugidentnummer / ENG=Motornummer)
> xxxxx bedeutet BIS Identnummer xxxxx (manchmal auch ohne > davor)
xxxxx > bedeutet AB Identnummer xxxxx (alle ab dieser Idennummer aufwärts)
LH bedeutet Left Hand / Links
RH bedeutet Right Hand / Rechts
obs (obsolete) bedeutet Wird nicht mehr produziert = Nicht mehr bestellbar.
ACHTUNG: Teile aus Ersatzteilkatalogen werden extra für Ihr Fahrzeug bestellt. Es besteht daher kein ersatzloses Rückgaberecht.
Die Wiedereinlagerungsgebühr für zurückgesandte Bestellungen beträgt 25% des Warenwertes.